5287人
20
一、使用场景
主要用于同步记录自营仓库、第三方海外仓、FBA仓库的库存数量,便于采购收货后新增库存,以及订单发货后扣减库存,库存在差异调整库存等
二、框架逻辑简图

三、维护入口
路径:应用-》仓储-》仓库管理-》仓库维护-》仓库管理
方式一 :单个创建



举例:创建三方海外仓库的流程,运营方式为三方,仓库类型则选择标准仓,运营方式则需选择对应的海外仓,如图设置:

说明:
1.标※为必填项 点击问号查看填写内容指引
2.同步创建1个分区和1个库位,是快捷方式生成方式,如果维护现有的分区和库位可以不用选。
3.前期创建1个仓库1个分区和1个库位,选择了同步创建分区和库位,可以不用再走下面单独创建分区和库位的流程,若后期想要增加多个分区和库位,则可以走下面的创建分区和库位的流程。
名词解释
1、仓库代码:仓库的自定义代码,系统支持英文/数字编写,无论本地仓,自营海外仓还是第三方海外仓,每一个仓库都应该有一个对应的编码。必填。(便于业务开展中更好的识别,易仓ERP强烈要求规范性维护,否则影响到后面的数据正常运作:必须全大写全数字,或字母,或中杆,进行组合,禁止代码中出现“空格”、“,”、“:”、“(”、“)”等特殊的符号)
2、仓库名称:仓库的自定义名称,系统支持中/英文以及数字。选填。
3 、仓库状态:每一个仓库当前使用状态,分为可用,不可用,已废弃三种。必填。
4、仓库类型:每一个仓库的类型,标准仓还是中转仓。其中,标准仓是可以正常出货的仓库(用于派发订单出库),而中转仓是专门用于中转集货发海外仓的仓库,在系统的头程流程当中,头程发货仓库只能为中转仓。必填。
5、运营方式:每一个仓库的运营方式,自营还是第三方。必填。
6、是否需要头程:应用于库存成本是否包含头程费用,本地仓可以统一为否,海外仓可以统一为是。必填。
7、国家简码:仓库所在国家的简码。国家简码数据在批量上传仓库工作表的SHEET3。必填。
8、第三方仓库代码:用于数据对接,如有需要请向第三方服务商确认,或不填亦可。
9、排序:降序,数字越大,仓库在系统中的显示位置越靠前。选填。
方式二:批量导入
导入仓库-》模板下载-》模板填写后批量上传



注:模板内标黄的是必填项,状态、类型、运营方式等基础数据在基础数据表格内查看,数据填写完后上传到系统中。
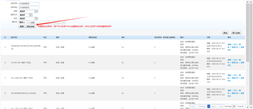
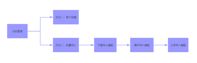
分区管理
一.使用场景:
将仓库划分为多个分区,每个区域存放的货物类型不同。举例:深圳本地仓拥有A,B,C,D,4个分区,其中,A,B,C分区为标准分区,用于存放不同类型的货物,D分区为不良品区,用于存放质检不合格的产品,便于管理。
二.框架逻辑简图

三、维护入口
路径:应用-》仓储-》仓库管理-》库区维护-》分区管理
方式一:单个创建


说明:打※的为必填项,要先维护好仓库之后才能维护分区。
名词解析
1、分区代码:仓库之中每一个分区的代码,自定义编写,以实际情况以及工作人员便于辨识为准,支持数字和英文字母。必填。
(便于业务开展中更好的识别,易仓ERP强烈要求规范性维护,否则影响到后面的数据正常运作:必须全大写全数字,或字母,或中杆,进行组合,禁止代码中出现“空格”、“,”、“:”、“(”、“)”等特殊的符号)
2、分区名称:仓库中每一个分区的中文名称,自定义编写,以实际情况以及工作人员便于辨识为准,支持汉字,英文和数字编写。必填。
3、英文名称:仓库中每一个分区的英文名称,自定义编写,以实际情况以及工作人员便于辨识为准,支持汉字,英文和数字编写。必填。
4、分区类型:用于记录该分区存放的货物类型,分为标准,不良品,退货区以及中转区,一般情况下,只使用标准以及不良品即可。必填。
5、存货类型:分为拣货以及存储两种,拣货区即是平时仓库之中用于拣货的区域,存储是平时用来存储货物的区域。其中,当两种模式都使用时,系统默认先进先出原则,不区分拣货区还是储货区;若要优先使用拣货区库存,当拣货区无货时,才会使用存储区库存,这个需要通知易仓技术配置。必填。
6、仓库代码:该分区所属的仓库代码。必填。
7、状态:该分区目前状态,分为可用,不可用,已废弃,三种。必填。
8、品类:该分区用于存储的货物品类,如无特别需要,建议不填。选填。
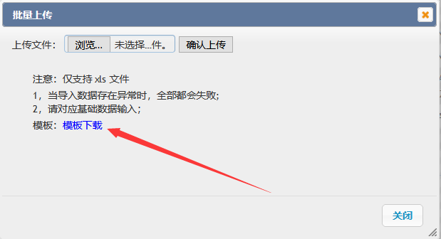
方式二:批量导入


注:模板内标黄的是必填项,分区类型,存货类型,状态等基础数据在基础数据表格内查看,数据填写完后上传到系统中。
四、其他说明项
如果您不是自营仓库,中转仓,第三方仓库只要维护一个虚拟的分区即可
库位管理
一.使用场景:
库位主要是用来存放货物,为使仓库管理规范化,
二.框架逻辑简图

三.维护入口
路径:应用-》仓储-》仓库管理-》库区维护-》库位管理
方式一:单个创建


说明:打※的为必填项,要先维护好仓库和分区之后才能维护库位。
名词解析
1、仓库代码:库位所在的分区所在仓库的代码,必填
2、分区代码:库位所在的分区的代码。必填
3、库位:该库位的代码,自定义编写,支持英文和数字以及字符。必填。 (便于业务开展中更好的识别,易仓ERP强烈要求规范性维护,否则影响到后面的数据正常运作:必须全大写全数字,或字母,或中杆,进行组合禁止代码中出现“空格”、“,”、“:”、“(”、“)”等特殊的符号)
4、通道ID:库位之间的通道ID,默认为0,选填。
5、拣货顺序:该库位对应的拣货顺序,必须为数字,数字小的优先拣货,拣货顺序主要会影响拣货单中库位+sku的排列顺序,也就是拣货员的拣货路线。选填。
方式二:批量导入



注:模板内标黄的是必填项,仓库代码,分区代码等基础数据在基础数据表格内查看,数据填写完后上传到系统中。
四.其他说明项
如果您不是自营仓库,中转仓,第三方仓库只要维护一个虚拟的库位即可
易仓erp是一款高端的跨境电商管理软件,帮助跨境卖家管理店铺产品开发、采购、质检、出入库、订单管理、客服、财务管理、报表分析等一整套流程解决方案,目前有400多家月销百万美金的大卖家在使用。
易仓WMS是一款专业的海外仓管理软件,帮助海外仓企业高效处理业务,同时帮助海外仓企业搭建仓库、推荐客户、招募代理商,开展代发货、贴换标、中转、维修等服务,目前业内70%以上的第三方海外仓在使用。
易仓国际货代TMS系统为第三方跨境物流服务商配备功能强大、性能卓越的包裹处理系统,应用于国际快递、邮件小包、专线(空、海派)包裹处理、FBA头程、COD货到付款及虚拟海外仓等业务。
易仓跨境分销M2B系统,是一款专业的跨境分销系统,主要针对有志于拓展销售渠道的大卖家及工厂,提供一件代发、供销等多种分销模式,支持国内直发和海外仓发货等多种物流方式,并提供完善的分销功能和分销生态体系。
跨境行业全生态链软件服务供应商